發布于:2019/8/30 10:04:16 點擊量:237
1 概述
高壓差給水調節閥是廣泛用于電力、冶金、石化、輕紡、供熱、制冷、造紙和煤化工等工業領域中減溫減壓裝置的核心部件之一,直接影響減溫減壓裝置的使用性能。傳統的給水調節閥易汽蝕,閥門密封填料易破損泄漏的幾率比較大,出現噴水孔堵塞的現象。同時,對于大變工況條件的增加和復雜工藝參數的使用要求,減溫減壓裝置在調節性能和安全性能方面常會出現一些問題。高壓差單座密封給水調節閥在結構、加工工藝、可靠性和降低成本等方面都有很大的改進和完善,滿足了大變工況和復雜工藝參數的要求。
2 結構特點
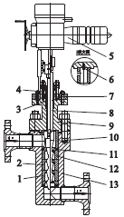
高壓差單座密封給水調節閥(圖1)由閥體、閥蓋、閥座、閥桿、壓套、填料、隔環和電液執行機構等組成。閥門的開啟、調節或關閉是通過壓力變送器和調節器,再由執行機構操縱,帶動閥桿,使閥桿在閥座內上下運動,改變介質的流通面積來改變流量。給水由進水管進入閥門上腔。當閥桿上下移動時,使給水經過流線型錐體通道,向下運行,進入上、中、下閥座腔內。通過閥桿調節其在閥座內的相對位置,控制錐體流通面積,以改變介質流通面積達到調節流量的目的。

1.下閥座2.中閥座3.填料隔環4.填料壓套
5.電液執行機構6.防轉螺釘7.填料8.閥桿
9.閥蓋10.壓套11.密封填料12.上閥座13.閥體
圖1 高壓差單座密封給水調節閥
高壓差單座密封給水調節閥的閥體為鍛件,單座密封結構如圖2所示。閥桿與閥座間錐面密封,閥桿在結構尺寸設計上采用流線型,使給水在流動過程中走圓滑路線。該閥密封面堆焊CoCr硬質合金,耐沖刷、耐腐蝕,閥桿通過不同方式可方便的實現等百分比和線性等調節特性。為避免填料受力不均勻,發生泄漏現象,填料中間設置填料隔環。為防止壓套旋轉、影響給水流量,閥蓋上設置防轉螺釘。為防止密封填料破碎、流入給水管道內造成減溫減壓裝置的噴嘴堵塞,壓套和上閥座、下閥座與閥體采用嵌入式(圖3)。在高壓差情況下,由于容易產生氣蝕現象,采用多級調節結構,以消除因汽蝕而破壞閥門的隱患。
閥體、閥桿和閥座是此閥門的關鍵部件,其密封面的質量將直接影響閥門的整體性能。傳統的閥門結構為單座單導向,加工方法不甚合理。其工藝方法為閥體中閥本體與閥座組焊,至使閥桿與變形的閥座配合時,間隙比較大,密封填料變形后一部分易沖刷進入閥內腔中。現把工藝方法改為閥門為單座雙導向結構,壓套與下閥座采用嵌入式,閥桿與閥座直接配合密封,以達到零泄漏的效果。

1.閥瓣2.壓套3.上閥座4.密封填料5.閥體
圖2 閥桿、閥座與閥體、壓套、上閥座密封結構

1.中閥座2.閥體3.下閥座4.密封填料
圖3 閥體、下閥座密封結構
高壓液體流經節流孔時,閥座相當于節流孔板(圖4),靜壓能與動壓能相互轉換,流速的增加導致壓力降低。當壓力降低至等于或低于該液體在入口溫度下的汽化壓力PV時,液體中的氣核即膨脹而形成汽泡。流過節流面后,在寬敞的下游流道中流速下降,壓力回升。當壓力回升至P2時,并≥PV時,汽泡潰裂,這即是汽化過程。汽泡潰裂時,釋放出巨大的能量,對閥座、閥瓣等節流元件產生破壞即汽蝕。汽蝕的破壞力很大,一般的閥門在汽化條件下,運行一定時間后即遭受嚴重汽蝕,致使閥座泄漏量高達額定流量的30%以上,調節閥完全喪失調節控制功能。

圖4 閥內流體速度-壓力變化及汽蝕形成原理
汽蝕與壓差有關,當閥的實際壓差△P大于產生汽化的臨界壓差△PC時,并在出口壓力P2≥PV時,產生汽化。由此,將閥的總壓差用分級降壓的方法,使每一級壓差△Pi<△PC,即可防止汽化產生。多級壓降是以改變流體在閥內的流動狀態,從閥的結構上保證了高壓液體在節流降壓過程中不產生汽化,是目前對高壓差產生汽化的有效方法。防汽蝕高壓差調節閥的關鍵技術是節流組件。根據多級降壓防汽化原理,采用了多級分流多級閥座式節流的組件。
高壓差調節閥是將閥的全開度分成若干組相互獨立的空間(圖5),每個獨立空間都設有徑向流道、節流孔和緩沖室,按一定規律分布于若干閥座上,閥座經加工成型組裝,采用上閥座密封結構,單座密封,實現零泄漏。

圖5 高壓差多級降壓原理
由于鍋爐給水調節閥為變壓差運行,因此,該高壓差給水調節閥具有在小流量(小開度)時能承受很高的壓差而不產生汽化。在大流量下則要求閥的阻力盡量小,以減少給水泵的能源損耗,亦即要求閥具有變流阻特性。通常,閥的固有流量特性是在恒壓差下測得,當用于變壓差工況,其實際工作流量特性會產生畸變。直線特性變為快開特性,致使調節閥通常在40%開度達到飽和,不能進行全程控制。鑒于此,將25%以下開度采用多級降壓,25%~100%開度范圍為一般套筒結構,固有流量特性為修正等百分比,這樣能有效防止汽化與汽蝕,流體阻力小,節省電力,并能補償變壓差的影響,滿足實際工作流量特性的要求。
表1 高壓差單座密封給水調節閥與傳統的給水調節閥性能比較

3 設計計算
根據工藝參數要求,計算流量系數Cv,為避免汽蝕現象,應根據壓差判定或選用多級高壓差調節閥,推薦采用IEC標準計算。按△P<FL2(P1-FfPV)判斷是否為阻塞流。
若△P<FL2(P1-FfPV)成立,則為非阻塞流,其流通能力Cv為

若△P<FL2(P1-FfPV)不成立,則為阻塞流,其流通能力Cv為

式中 Cv———流量系數
FL———壓力恢復系數
Q———流量
r———密度(閥前條件下)
△P———壓降
△P=P1-P2
P1———閥進口壓力
P2———閥出口壓力
Ff———臨界壓力比系數

PV———流動溫度下的飽和蒸汽壓力
PC———熱力學臨界壓力
選擇調節閥按計算Cv值的1.2~1.4倍作為其額定流量系數,開度大致范圍為70%~90%(最大開度),常用開度為40%~70%,最小開度為10%。
4 試驗及使用
4.1 型式試驗
通過型式試驗確認閥門的設計加工質量,承壓能力,啟動裝置的動作性能。①按公稱壓力的1.5倍進行水壓殼體試驗,觀察填料部位、中法蘭墊片各處及殼體全表面應無滲漏。②試驗介質為5~40℃的水或煤油,試驗介質壓力為0.35MPa,,泄漏等級不低于Ⅲ級。③閥門動作試驗。將閥門關閉后,加壓至設計壓力,開啟驅動裝置,確認閥門開啟狀態,驗證設計行程。
4.2 使用結果
在某工況系統中,其工藝參數為給水流量Q=20t/h,給水調節閥進口壓力P1=8.0~8.3MPa,出口壓力P2=2.0MPa,給水溫度tb=90~130℃,選用高壓差給水調節閥的規格為DN50,PN110。采用傳統結構的給水調節閥與高壓差給水調節閥,其運行結果見表2。高壓差給水調節閥投產運行良好,閥門操作輕便,密封可靠,完全滿足工藝參數的需要。
表2 運行結果

在某專用減溫減壓裝置裝備配套中,采用高壓差給水調節閥,進口壓力P1=8.6MPa,出口壓力P2=1.5MPa,減溫水溫度tb=104℃,減溫水流量Q=2.5t/h,選用高壓差調節閥的規格為DN20、PN100。樣機試驗時,取工況點共11個,對各個工況點進行性能試驗及整體破壞性試驗(表3),均達到技術要求。
表3 性能試驗及整體破壞性試驗結果
5 結語
高壓差給水調節閥與傳統的給水調節閥相比,密封結構更加合理。單座密封給水調節閥在工況系統中的可靠性和調節性能等方面都有很大的改進和完善,維修更加方便,滿足了大變工況和復雜工藝參數的要求。
本文鏈接:http://m.hx1986.com/news/detail/20190830100416.html
版權所有 © 自力式壓力調節閥-氣動調節閥-電動調節閥-氮封閥廠家 浙ICP備18052799號-2